Grooving Shank-Type Cutters DP
Article
Description
Machine / Application
- CNC routers
- especially for grooving but also for jointing, and dividing in raw and laminated panels as well as for example in glued veneered woods (Multiplex)
Design
- extremely rigid VHW tool body
- with alternating shear angle
- with DP plunge tip
- polished face
- n max = 24,000 min-1
Advantages
- optimum cutting quality thanks to shear angle, alternating top and bottom
- smooth running thanks to special cutting edge configuration
- very long edge lives, less cutting forces and less noise thanks to optimized tool body
- clean ground of groove
Notes
- clamping elements: hydro expansion chuck ps-System or TRIBOS with precision reducing sleeves Ident-No. 183032 or 182305 or with heat shrink-fit chuck Ident-No. 80362923
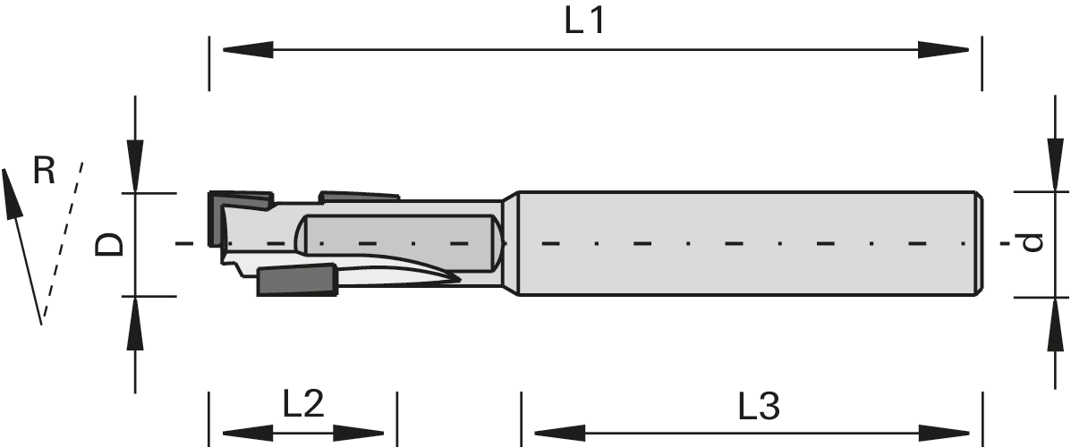
|
Ø D
[mm] |
L2
[mm] |
Ø d
[mm] |
L3
[mm] |
L1
[mm] |
Z |
nmax
[min-1] |
L/R | Ident-No. | Comp./ Inqu. | |
|---|---|---|---|---|---|---|---|---|---|---|
|
Dimensions entered are not listed?
available from stock |
||||||||||
| 8 | 14 | 8,0 | 36 | 60 | 1+1 | 24,000 | R | 185734 | ||
