High-Performance Roughing Shank-Type Cutters DP - for the machining of solid core panels
Article
Description
Machine / Application
- CNC routers
- for pre-sizing in roughing quality in wood-based panels, solid wood and plastic
- especially suited for the machining of plastic solid core panels (e.g. Trespa®, Corian®, Varicor®, LG-HiMacs, etc.)
Design
- high-performance tool for rough and finish milling
- with alternating shear angle
- with DP plunge tip
- face cutting for diagonal plunge-cutting
- n max = 24,000 min-1
Advantages
Notes
- Clamping elements: ps-System, TRIBOS , draw-in collet chuck
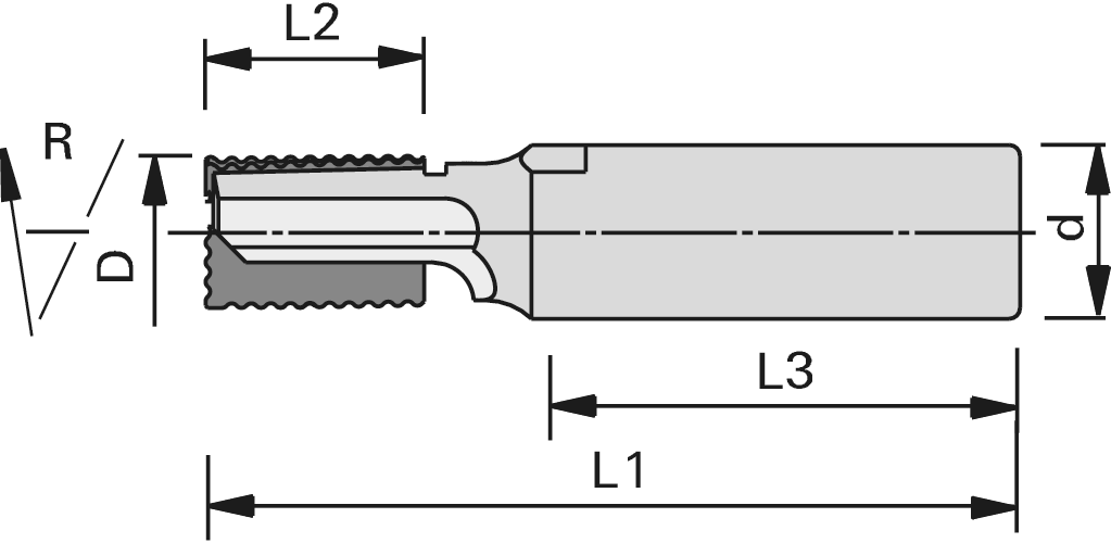
- with thread for length adjusting screw
|
Ø D
[mm] |
L2
[mm] |
Ø d
[mm] |
L3
[mm] |
L1
[mm] |
Z |
nmax
[min-1] |
Resharpening area
[mm] |
L/R | Ident-No. | Comp./ Inqu. | |
|---|---|---|---|---|---|---|---|---|---|---|---|
|
Dimensions entered are not listed?
available from stock |
|||||||||||
| 14 | 20 | 16 | 45 | 75 | 2+1 | 24,000 | 1.5 | R | 186579 | ||
